《哪吒2》票房突破50亿元 总票房预测超87亿元!光线传媒回应来了
来源:21世纪经济报道
2月5日,猫眼专业版数据显示,影片《哪吒之魔童闹海》票房突破50亿元,预计总票房将达到87.38亿元。

公开信息显示,《哪吒之魔童闹海》由光线传媒(300251.SZ)主投。对于票房预测及票房贡献,南财快讯记者以投资者身份致电光线传媒,相关工作人员表示,总票房数据关注猫眼专业版票房预测数据。此外,关于《哪吒之魔童闹海》对公司收入和净利润贡献,公司下午或晚间将发布票房公告。
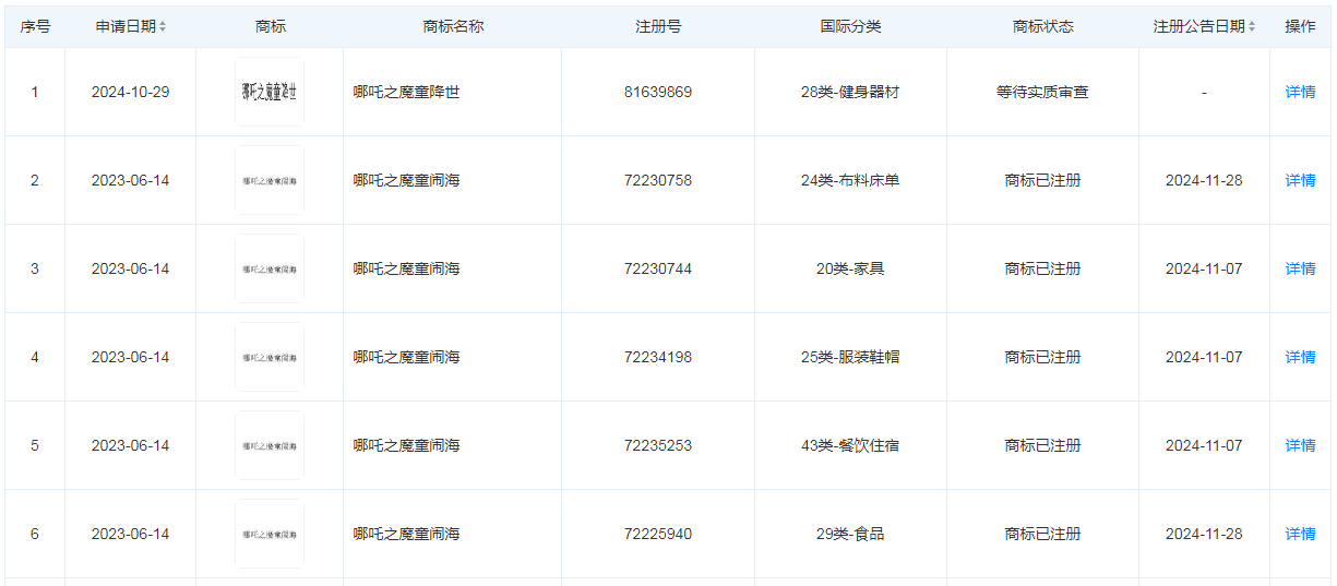
天眼查知识产权信息显示,光线传媒旗下北京光线影业有限公司已成功注册多枚“哪吒之魔童闹海”商标,国际分类涉及教育娱乐、餐饮住宿、广告销售等。此外,该公司还注册了多枚“魔童哪吒”“哪吒降世”“魔丸哪吒”“哪吒之魔童降世”商标。

图片来源:天眼查
据每日经济新闻报道援引机构人士消息,预计《哪吒之魔童闹海》有望给光线传媒贡献11亿-12亿元收入和8亿-10亿元利润,并主要体现在公司今年一季度的业绩中;相关衍生品亦将贡献增量业绩。
目前,在中国电影票房总榜中,《哪吒之魔童闹海》排名第5。值得一提的是,排名第4的是《哪吒之魔童降世》,两个“哪吒”已经在顶峰相见。
2月5日,光线传媒高开后20CM涨停,截至早盘收盘,报11.44元/股,总市值335.6亿元。
(声明:文章内容仅供参考,不构成投资建议。投资者据此操作,风险自担。)
版权声明:如无特殊标注,文章均为本站原创,转载时请以链接形式注明文章出处。









评论